瀏覽:271次 2013/11/07
HDI-1875型布洛維硬度計使用說明書
目 錄
一、金屬的硬度試驗
(一)布氏法硬度試驗
(二)維氏法硬度試驗
(三)洛氏法硬度試驗
二、硬度計的構造
三、硬度計的安裝
四、硬度計的使用
(一)對試樣的要求
(二)硬度計的操作
(三)試驗時的注意事項
五、硬度計的維護
六、附加說明
一、金 屬 的 硬 度 試 驗
金屬的硬度試驗,一般可分為動載和靜載的試驗。動載試驗常用的為彈性回跳法和用沖擊力把淬火鋼球壓入試樣的試驗方法;靜載試驗法為以一定形狀的壓頭,平穩和逐漸地施加載荷,將壓頭壓入試樣,以所得壓痕的幾何形狀或壓痕形狀與載荷的相互關系來表示金屬的硬度。本硬度計是以靜載法中最常用的布氏法、維氏法和洛氏法測定金屬的硬度。
(一)布氏硬度試驗
布氏硬度試驗是把一定直徑的鋼球,在規定的載荷作用下并在一定時間內壓入試樣或工件,通常采用的鋼球直徑最小為1.25毫米,最大為10毫米,施加載荷最小為31.25kgf(306.5N)最大為3000kgf(29.42kN)。
本硬度計測定布氏硬度所用的鋼球直徑和載荷如下表:

壓痕直徑的測量可用外購的測量顯微鏡進行,其準確度應達0.01毫米,硬度值可在附表“布氏硬度對數表”中查對。
以布氏法進行硬度試驗時,載荷的施加必須平穩、無沖擊及振動,對黑色金屬及有色金屬中的銅和銅合金,在開始加荷至最大載荷的時間應為2-3秒,在最大載荷下保持時間也應為30秒。對輕合金及塑性大的金屬(鋁、鋁錫及軸承合金等)則載荷施加和保持時間延長至1分鐘。
布氏硬度的記錄,一般應標示出試驗時的條件,例如以φ2.5毫米的鋼球,載荷為62.5kgf(612.9N)載荷時間為30秒,測得的布氏硬度值為182,其結果應記錄為:
HB 2.5/62.5/30=182(kgf/mm2)
括號內的單位(kgf/mm2)可以省略。
試樣或工件的厚度,應不小于壓痕深度的10倍,布氏法試驗時試樣的厚度

(二)維氏硬度試驗
維氏法硬度試驗是用相對面間夾角為136°的正四棱形角錐體金剛石壓頭壓入試樣,而用壓痕面積(mm2)除載荷(kgf)所得的數字表示硬度值,角錐體的壓痕面積是根據其兩條對角線長度的平均值來計算。硬度值可用下式表示:(參考圖2)
上式中:p=載荷牛頓(kgf)
d=壓痕的兩對角線長度的平均值(mm)

維氏法測定硬度所用的載荷由1kgf至120kgf(9.81N至1.177kN),本硬度計用的載荷為30kgf(294.2N),60kgf(588.4N),100kgf(980.7N)。
壓痕的對角線長度以外購的測量顯微鏡測量,其準確度應達到0.001毫米。硬度值可在附表“維氏硬度對數表”查對。
負荷施加于試樣上,必須緩慢平穩、無沖擊及振動,從加荷開始到規定值的時間應為10~12秒,而負荷保持時間約為10~15秒,對于軟金屬及需要較精度的試驗工作時,應加長保持負荷時間至30+2秒。[!--empirenews.page--]
維氏硬度的標示,一般應示出試驗時的載荷,例如60kgf(588.4N)載荷得出的硬度值為300,其結果應標示為:
HV60 = 300 (kgf/mm2)
括號內的單位(kgf/mm2)可以省略。
試樣或工件的厚度,應不少于壓痕對角線的1.5倍,也可以用不少于壓痕深度的10倍來計算
維氏硬度試驗樣的最小厚度

(三)洛氏法硬度試驗
洛氏法試驗是用兩種不同的壓頭在先后施加的兩個載荷(預載荷和總載荷)作用下壓入金屬來測定硬度。
根據試驗條件,可采用直徑為12.7mm,6.35mm,3.175mm,1.588mm的淬火鋼球壓頭或頂角為120°的金剛石圓錐壓頭(頂端圓弧半徑為0.2毫米)。本硬度計只附直徑為1.588mm的鋼球壓頭及金剛石圓錐壓頭兩種。
洛氏硬度值HR是測量壓頭lOkgf(98.1N)預加載荷與總載荷(預載荷加主載荷)作用下所得壓痕深度差來表示,因此壓痕的深度是在保留lOkgf(98.1N)的載荷下測量,總載荷是根據所用壓頭及試樣材料而規定選用150kgf(1471.1N),1OOkgf(980.7N)或60kgf(588.4N),所得硬度值分別以不同的標記表示。
洛氏硬度以具有條件性的不名數表示, 以壓痕深度0.002毫米作為1硬度單位。當用金剛石圓錐壓頭時,硬度值投影在本硬度計的紅色線影屏上,讀數由100至O,表示試樣的壓痕深度由0至200微米;當用淬火鋼球壓頭時,硬度值投影在藍色線的投影屏上讀數由100至0,表示試樣的壓痕深度為60至260微米。
洛氏硬度標記,所用壓頭和總負荷如下表示:
洛氏硬度值可按下式計算:(參見圖4)

用金剛石圓錐壓頭時HRC、HRA、HRD=100- H-h0.002
用直徑為1.588mm鋼球壓頭時HRB、HRF、HRG=130- H-h0.002
式中:h--在預載荷10kgf(98.1N)作用下,壓頭壓入深度(毫米)。
H--在總載荷作用后,卸除主載荷,只在預載荷作用下的恢復壓痕深度(毫米)。
載荷施加于試樣時必須平穩、無沖擊及振動,特別在施加10kgf(98.1N)預載荷時更應注意,加荷速度以壓入時間表示,對A、B、C標尺均為4~6秒(C標尺用HRC 40~50的硬度塊),總負荷的保持時間為10秒,主負荷在2~3秒內卸荷后,立即讀數。
用金剛石圓錐壓頭在150kgf(1471.1N)載荷下測量HRC值,一般用來測量淬火鋼球或低溫加回火鋼的硬度,也可以用來測量厚度超過0.5毫米的箔面層(如滲炭層)的硬度,但硬度值HRC>70的試樣,應用圓錐壓頭60kgf(588.4N)載荷下測量HRA值,以免壓頭被損壞。
用鋼球加以100kgf(980.7N)或150kgf(1471.1N)載荷,直接用來測量較軟的材料,如退火鋼、有色金屬等硬度,但硬度值HRB<60的材料不適宜進行洛氏硬度試驗。
試樣的厚度應不少于壓痕深度的10倍,其規定如下:

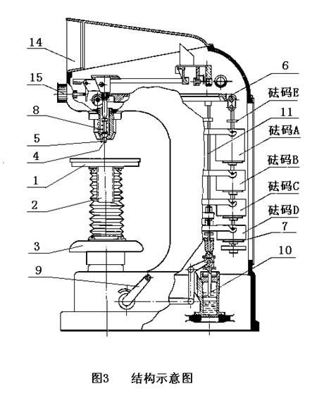
二、硬 度 計 的 構 造 (參看圖3)
HDl-1875型硬度計除操縱手柄9外,全部封閉安裝在機架內。機架前面裝有支承試樣的支承臺1、升降螺桿2及升降手輪3,支承臺可按試樣形狀要求而更換。試驗用的壓頭裝在加荷桿4的孔內,用固定螺釘5固定。進行洛氏硬度試驗時,預載荷10kgf(98.10N)由加荷彈簧8產生。主載荷則由安放于砝碼臺7上的砝碼重量借加荷杠桿而施加于壓頭。主載荷的加卸,由一組連桿裝置操縱之。當將操縱手柄9搖向前時,緩沖器10的活塞被提升,通過推桿11而使加荷杠桿6升起,此時砝碼產生的載荷沒有施加于壓頭上。將操縱手柄9推向后方,則載荷通過緩沖器的作用,緩緩施加于壓頭上。載荷的交換由一自動更換裝置操縱,在機架右側有一載荷交換旋鈕,轉動此旋鈕,使標記對正所選用的載荷,便可使砝碼掛架上的砝碼自動裝上砝碼臺。本硬度計可以在187.5、150、100、62.5、60、31.25、30kgf即(1839、1471.1、 980.7、612.9、 588.4、306.5、294.2N)7擋載荷進行試驗。但在選用294.2N(30kgf)載荷時,必須將交換旋鈕的標記對正31.25的位置,同時將砝碼臺上附加的小砝碼E取出,其它各擋載荷則須將此小砝碼加在砝碼臺上。[!--empirenews.page--]
本硬度計附有****洛氏硬度試驗的讀數裝置,此裝置將試樣的壓痕深度通過一放大杠桿,而用光學放大系統投射于機架前端的投影屏14上,在投影屏可直接讀出試樣的洛氏硬度值。所用的光源由6-8V、15W的燈泡產生,本機附有變壓器,使用的電源為220V、AC。
進行布氏硬度試驗或維氏硬度試驗時,試樣上被壓出的壓痕可用測量顯微鏡測量,并借用硬度對數表查對硬度值。
三、硬 度 計 的 安 裝
硬度計必須安裝在室溫20±10℃的范圍內,周圍無振動無腐蝕性介質。


為了避免硬度計在運輸途中碰壞,故將所有砝碼、砝碼臺均卸下另行包裝,加荷杠桿及放大杠桿用小繩縛緊,因此,開箱后必須按下列方法進行安裝。
1. 硬度計必須放在緊固的、表面稍粗糙的臺面上,并在臺面適當位置開一直徑為60毫米的孔,使硬度計升降螺桿在此孔升降,以便使用、維修。
2. 用螺旋起子旋開頂罩及掀開背面的蓋板,將縛緊杠桿的小繩剪斷并取出墊襯物。
3. 在杠桿末端的掛板上掛上砝碼臺,并將砝碼按A、B、C、D順序由上而下安放在砝碼架上,小砝碼E放在砝碼臺的掛鉤下(用30kgf即294.2N載荷時將砝碼E取出)。
4. 將機體安放好,把頂罩及后蓋板裝上,并以支承臺為準,校正水平(水平度不超過0.2/1000)。
5. 接上電源(220V)按下機架側下方的開關,光線投射在投影屏上應均勻,如發現有明暗不均勻現象,可旋開機架左上側的光源防護罩,調節燈座螺帽,將燈座拉出,推入或旋轉,使光源對正光學透鏡的光軸。注:更換燈泡時將燈座整個拉出。
四、硬 度 計 的 使 用
(一)對試樣的要求
1.試樣表面必須經過精加工(倒角),不應有凹凸不平的加工缺陷或夾雜物,以免損壞壓頭,同時最后加工不應影響金屬的硬度(例如:由冷加工而產生的硬化或由于在加工過程中引起發熱而產生的回火)。
2.試樣表面應干燥清潔無油層,對于有油漆、電鍍層、氧化皮、脫炭層或滲炭層的試樣,結果主要目的不是試驗該層的硬度,則應加以清除。
3.試樣幾何形狀的要求:
(1)布氏硬度試驗,試樣表面應制成光滑平面,以便壓痕邊緣足夠清晰,保證測量壓痕直徑的準確性。
(2) 維氏硬度試驗,試樣被試面應為平面,粗糙度0.4以上,必要時亦可以測定其曲率半徑不少于5毫米的試樣,但其結果只能與相同曲率表面條件下的結果相比較。
(3) 洛氏硬度試驗,可在其有平坦或彎曲表面的試樣上進行,測定彎曲面之硬度時,其曲率半徑不得少于15毫米。如半徑為5~15毫米,則測得的硬度值僅能用于比較相同曲率表面的硬度,但根據修正值修正后,其硬度值仍可同曲率半徑大于15毫米者進行比較。
4.試面應垂直于壓頭軸線,其傾斜度不應大于2?。
5.試樣的支承面應能保證試樣與支承臺緊密接合,在試驗時不能移動,試樣本身更不應產生彎曲和彈性變形。
6.根據試驗方法和試樣厚度,按上述表1、2、3恰當地選擇試驗載荷。
(二)硬度計的操作(參看圖3及圖4)
1.根據試樣形狀的要求選用適當的支承臺,支承臺必須試抹干凈,能使與升降螺桿的頂端緊密接合。[!--empirenews.page--]
2.根據試驗要求選用壓頭,并將壓頭牢靠地安裝在加荷桿的孔中,使壓頭與主軸的平面在工作時保持接觸良好,以保證試驗結果的正確。
3.根據試驗需要選擇所需的試驗載荷,轉動機架右側的變換載荷旋鈕,使所需載荷數字對正標記,可調換的載荷為 即( 。 如果需用30kgf(294.2N)載荷,按上述結構說明中的方法,將小砝碼E取出。
4.將操縱手柄9搖向前方,然后將試樣放在支承臺1上,轉動升降手輪3,使試樣試面與壓頭按觸,繼續緩慢轉動手輪,使試樣繼續升,此時投影屏上的標尺移動到紅色刻度“100”與基準線接近重合(上、下偏移不大于5小格)。
5.旋轉投影屏下的調整旋鈕15,使基準線與刻度“100”重合,此時預載荷10kgf(98.1N)施加在試樣上(圖4之Ⅱ)。
6.將操縱手柄9推向后方,則主載荷施加在試樣上,投影屏上的標尺慢慢回行,而且停止在一定位置,此時標尺所指示的壓痕深度,是在總載荷作用下,試樣的彈性變形也計在內,因此不能以此作為載荷的讀數(圖4之Ⅲ)。
7.將操縱手柄9搖向前方,使主載荷卸除,此時試樣只承受lOkgf(98.1N)的預載荷,壓痕的彈性已回復,此時投影屏上基準線對正標尺的數字,即為洛氏硬度值。如果用金剛石圓錐壓頭,施加60、150、100kgf(即588.4、1471.1、980.7N)載荷,則在紅色投影屏上讀出HRA、HRC或HRD值;如果用直徑為1.588mm的鋼球壓頭用100,60、150kgf(即980.7、588.4、1471.1N)載荷則在藍色投影屏分別讀出HRB、HRG或HRF值(圖4之Ⅳ)。
8.降下支承臺,取出試樣(圖4Ⅴ)。
9.用作測量布氏或維氏硬度時,操作方法同上,但取下試樣后必須用測量顯微鏡測量壓痕的直徑(布氏法)或對角線的長度(維氏法),再在硬度對數表中查對硬度值。
10.無論用作測量布氏、維氏或洛氏硬度,必須按照上述金屬硬度試驗中的規定選用壓頭或規定的載荷進行試驗,并按規定控制載荷的施加時間,將操縱手柄9搖向前方后,投影屏上的標尺緩慢回行直至停止,所需時間即載荷施加時間,此時間的控制可調整機架右下側的緩沖器旋鈕10,使之符合規定的要求。
11.當轉換支承臺時,須將螺桿降低,并注意不要碰壞壓頭。
(三)試驗時的注意事項
1.布氏硬度試驗(根據GB/T231.1- 2002、GB/T231.2-2002、GB/T231.3-2002)
(1) 壓痕中心距試樣邊緣的距離不小于壓痕直徑的2.5倍,而距其相互壓痕中心的距離應不小于壓痕直徑的4倍。試驗硬度小于HB35的金屬時,上述距離應分別為壓痕直徑的3倍和6倍。
(2) 試樣或彎曲表面制件試驗表面的長度和寬度應不小于鋼球直徑的2倍。
(3) 試驗后壓痕直徑的大小應在下列范圍內:
O.25 < d < 0.6 D
如不符合上述條件時,試驗結果認為無效。
2.維氏硬度試驗(根據GB/T4340.1-1999、GB/T4340.2-1999、GB/T4340.3-1999)
(1) 一壓痕中心與試樣邊緣或其他壓痕中心之間的距離對于黑色金屬不應小于壓痕平均對角線長的2.5倍,對于有色金屬,則不應小于5倍。
(2) 試驗后試樣上出現下列情況之一者,試驗結果無效。
a.試樣背面有變形痕跡;
b.壓痕形狀不完整;
3.洛氏硬度試驗(根據GB/T230.1-2004、GB/T230.2-2002、GB/T230.3-2002)
(1) 在試樣上兩相鄰壓痕中心以及任一壓痕中心距試樣邊緣之距離均不得小于3毫米。
(2) 每次更換壓頭(金剛石圓錐和鋼球)、試樣或支座后的最初兩次試驗結果,不能采用。
五、硬 度 計 的 維 護
1.硬度計必須安裝在附近無振動、無腐蝕氣體及干燥的地方。[!--empirenews.page--]
2.使用硬度計時必須按規定的測量硬度允許使用范圍進行,以免壓頭因使用不當而損壞。若不能確定被測試樣的硬度范圍時,應先采用較輕的載荷進行試驗。
3.使用完畢,應將操縱手柄9搖向前方,壓頭使用完畢,應用絲布試抹干凈,鋼球壓頭應涂上少許無酸鐘油,以防腐蝕。
4.如發現緩沖器調節失靈,可能是緩沖器的油量過少, 可卸下后蓋板,掀開緩沖器上的油氈,加注緩沖油(可選用10#~15#車用機油)并多次搖動手柄9,使緩沖器內的氣體排出。
5.在硬度計的自動加卸砝碼系統、緩沖器連桿系統及支承臺升降系統的各摩擦部份加注少量潤滑油。注意:其它部份不能注入潤滑油。
6.硬度計應經常保持清潔,使用完畢應用木箱或塑料罩封蓋,以免塵埃侵入機內。
7.硬度計機身的表面漆膜禁忌與鐘油接觸。
8.硬度計如有損壞,應由專業人員維修或直接通知生產廠家進行修理。
-------------------------------------------------------------------------------------------------
相關產品推薦
【多用硬度計】HS-19A肖氏硬度計 FY310多用硬度計 HBRVU-187.5型光學布洛維硬度計 HBRV-187.5型布洛維硬度計 HBRX-187.5A型攜帶式布洛硬度計 HRVX-10型攜帶式洛維硬度計 HBV-30A型布維硬度計